Nissan Leaf Owners Manual | 2025
6.5.8. Trip computer


The displayed images and the displayed items may differ depending on the model.

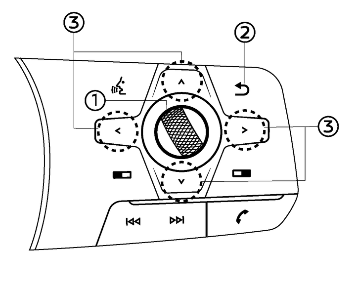
Switches for the trip computer are located on the right side of the steering wheel.
- (1)Scroll dial - navigate through the items and change or select an item in vehicle information display.
- This scroll dial allows up/down navigation and push to select.
- (2)
- go back to the previous menu - (3)
,
- change from one display screen to the next (i.e. trip, energy economy)
The displayed images and displayed items may differ depending on the model.
Owners Manual