Nissan Leaf Owners Manual | 2025
8.5.1.1. Available views
The distance guide lines and the vehicle width guide lines should be used as a reference only when the vehicle is on a paved, level surface. The apparent distance viewed on the monitor may be different than the actual distance between the vehicle and displayed objects.
Use the displayed lines and the bird’s-eye view as a reference. The lines and the bird’s-eye view are greatly affected by the number of occupants, vehicle position, road condition and road grade.
If the tyres are replaced with different sized tyres, the predictive course lines and the bird’s-eye view may be displayed incorrectly.
When driving the vehicle up a hill, objects viewed in the monitor are farther than they appear. When driving the vehicle down a hill, objects viewed in the monitor are closer than they appear.
Objects in the rear view will appear visually opposite compared to when viewed in the rearview and outside mirrors.
Use the mirrors or actually look to properly judge distances to other objects.
The distance between objects viewed in the rear view differs from actual distance because a wide-angle lens is used.
On a snow-covered or slippery road, there may be a difference between the predictive course line and the actual course line.
The vehicle width and predictive course lines are wider than the actual width and course.
Front and rear view


Guiding lines that indicate the approximate vehicle width and distances to objects with reference to the vehicle body line (A) , are displayed on the monitor.
Vehicle width guide lines (1) :
Indicate the vehicle width.
Predictive course lines (2) :
Indicate the predictive course when operating the vehicle. The predictive course lines will move depending on how much the steering wheel is turned.
Distance guide lines:
Indicate distances from the vehicle body.
Red line (3) : approximately 0.5 m (1.5 ft)
Blue line (4) : approximately 1 m (3 ft)
Blue line (5) : approximately 2 m (7 ft)
Blue line (6): approximately 3 m (10 ft)
The front view will not be displayed when the vehicle speed is above 20km/h (12 MPH).
Bird’s-eye view

The bird’s-eye view shows the overhead view of the vehicle which helps confirm the vehicle position and the predictive course to a parking space.
The vehicle icon (1) shows the position of the vehicle. Note that the distance between objects viewed in the bird’s-eye view differs from the actual distance.
The predictive course lines (2) indicate the predicted course when operating the vehicle.
Objects in the bird’s-eye view will appear farther than the actual distance.
Tall objects, such as a kerb or vehicle, may be misaligned or not displayed at the seam of the views.
Objects that are above the camera cannot be displayed.
The view for the bird’s-eye view may be misaligned when the camera position alters.
A line on the ground may be misaligned and is not seen as being straight at the seam of the views. The misalignment will increase as the line proceeds away from the vehicle.
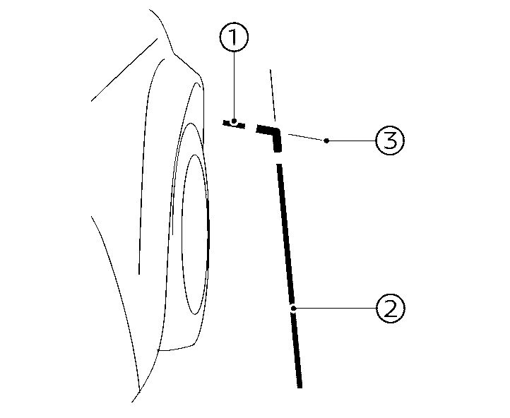
Front-side view

Guiding lines:
Guiding lines that indicate the approximate width and the front end of the vehicle are displayed on the monitor.
The front-of-vehicle line (1) shows the front part of the vehicle.
The side-of-vehicle line (2) shows the vehicle width including the outside mirrors.
The extensions (3) of both the front (1) and side (2) lines are shown with a blue line.
The turn signal light may look like the side-of-vehicle line. This is not a malfunction.
Front-wide/rear-wide view


While the front view/rear view shows a normal view on the split screens, the front-wide view/rear-wide view shows a wider area on the entire screen and allows checking of the blind corners on the right and left sides.
Vehicle width guide lines (1) :
Indicate the approximate vehicle width.
Predictive course lines (2) :
Indicate the predictive course when operating the vehicle. The predictive course lines will move depending on how much the steering wheel is turned.
Distance guide lines:
Indicate distances from the vehicle body.
Red line (3): approx. 0.5 m (1.5 ft)
Blue line (4): approx. 1 m (3 ft)
Blue line (5): approx. 2 m (7 ft)
Blue line (6): approx. 3 m (10 ft)
The front-wide view will not be displayed when the vehicle speed is above 20km/h (12 MPH).
Saved Locations:
You can save the points where the front-wide view will automatically pop up when the vehicle is within approximately 30 meters (110 ft) of a saved location. This can be useful when the driver needs to check the blind corners at road junctions with poor visibility, for example.
How to save the location:

When the camera screen is displayed, touch (A) key.
See
.