Nissan Leaf Owners Manual | 2025
7.7.1. Tilt and telescopic operation

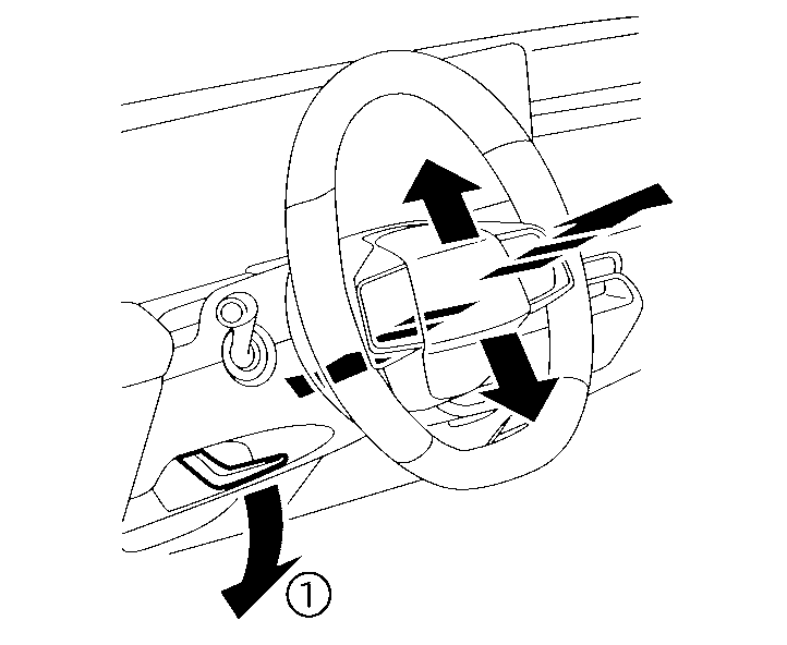
Pull the lock lever (1) down and adjust the steering wheel up, down, forward or rearward to the desired position. Push the lock lever up securely to lock the steering wheel in place.
Owners Manual