Nissan Leaf Owners Manual | 2025
5.5.1.4. Supplemental curtain side-impact air bag system
This system can help cushion the impact force to the head of the driver and passengers in front and rear outboard seating positions in certain side-impact collisions. The supplemental curtain side-impact air bag is designed to inflate on the side where the vehicle is impacted.
The SRS is designed to supplement the accident protection provided by the seat belts and is not designed to substitute for them. The SRS can help save lives and reduce serious injuries. However, inflating air bags may cause abrasions or other injuries. Air bags do not provide protection to the lower body. Seat belts should always be correctly worn and the occupants should always be seated a suitable distance away from the steering wheel, instrument panel and door finishers. (See
.) The air bags inflate quickly in order to help protect the occupants. The force of the air bags inflating can increase the risk of injury if the occupants are too close to, or are against, the air bag modules during inflation.The front air bag and side-impact air bags will deflate quickly after deployment. The front centre side-impact air bag will remain inflated for a short period of time. The curtain side-impact air bags will remain inflated for up to 6 seconds.
The SRS operates only when the power switch is in the ON position.
When the power switch is in the ON position, the SRS air bag warning light illuminates for about 7 seconds and then turns off. This indicates that the SRS is operational. (See ${1}.)


The supplemental front air bags ordinarily will not inflate in the event of a side impact, rear impact, or lower severity frontal collision. Always wear your seat belts to help reduce the risk or severity of injury in various kinds of accidents.
The seat belts and the supplemental front-impact air bags are most effective when you are sitting well back and upright in the seat. The front-impact air bags inflate with great force. If you and your passengers are unrestrained, leaning forward, sitting sideways, or out of position in any way, you and your passengers are at greater risk of injury or death in an accident. You and your passengers may also receive serious or fatal injuries from the supplemental front-impact air bag if you are up against it when it inflates. Always sit back against the seatback and as far away as practical from the steering wheel or instrument panel. Always use the seat belts.
Keep hands on the outside of the steering wheel. Placing them inside the steering wheel rim could increase the risk of injury if the supplemental front air bag inflates.






Never let children ride unrestrained or extend their hands or face out of the window. Do not attempt to hold them in your lap or arms. Some examples of dangerous riding positions are shown in the illustrations.
Children may be severely injured or killed when the air bags inflate if they are not properly restrained.
Never install a rear-facing child restraint system on the front passenger seat without ensuring that the front passenger air bag is deactivated. An inflating supplemental front-impact air bag could seriously injure or kill your child. (See
.)




The supplemental front central side-impact air bag, side-impact air bags and curtain side-impact air bags ordinarily will not inflate in the event of a front impact, rear impact, or lower severity side collision. Always wear the seat belts to help reduce the risk or severity of injury in accidents.
The seat belts and the supplemental front central side-impact air bag, supplemental side-impact air bags and supplemental curtain side-impact air bags are most effective when you are sitting well back and upright in the seat. The supplemental front centre side-impact air bag, supplemental side-impact air bags and supplemental curtain side-impact air bags inflate with great force. If you and your passengers are unrestrained, leaning forward, sitting sideways, or out of position in any way, you and your passengers are at greater risk of injury or death in an accident.
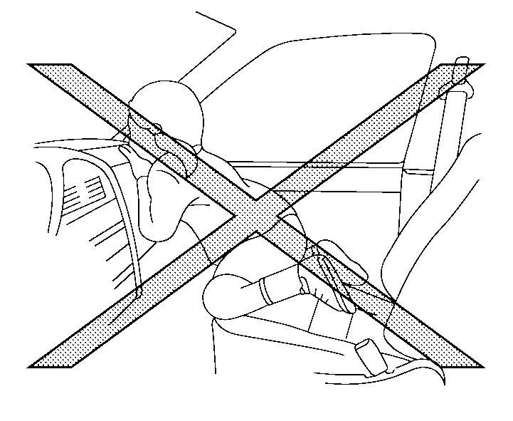
Do not allow anyone to place their hands, legs or face near the front central side-impact air bag, side-impact air bags and curtain side-impact air bags located on the centre of the seatback of the driver's seat, sides of the seatback of the front seats or near the side roof rails. Do not allow anyone sitting in the front seats or rear outboard seats to extend their hands out of the windows or lean against the doors. Some examples of dangerous riding positions are shown in the illustrations.
When sitting in the rear seats, do not hold onto the seatback of the front seats. If the supplemental front central side-impact air bag, supplemental side-impact air bags and supplemental curtain side-impact air bags inflate, you may be seriously injured. Be especially careful with children, who should always be properly restrained.
Do not use seat covers on the front seatbacks. They may interfere with the supplemental front central side-impact air bag, supplemental side-impact air bag inflations.