Nissan Leaf Owners Manual | 2023
5.6.1.3. Roof-mounted curtain side-impact supplemental air bag system
This system can help cushion the impact force to the head of the driver and passengers in front and rear outboard seating positions in certain side-impact collisions. The roof-mounted curtain side-impact supplemental air bag is designed to inflate on the side where the vehicle is impacted.
The SRS is designed to supplement the accident protection provided by the driver's seat belt and is not designed to substitute for it. The SRS can help save lives and reduce serious injuries. However, inflating air bags may cause abrasions or other injuries. Air bags do not provide protection to the lower body. Seat belts should always be correctly worn and the occupants should always be seated a suitable distance away from the steering wheel. See
. The air bags inflate quickly in order to help protect the occupants. The force of the air bags inflating can increase the risk of injury if the occupants are too close to, or are against, the air bag modules during inflation.The air bags will deflate quickly after deployment.
The SRS operates only when the power switch is in the ON position.
When the power switch is in the ON position, the SRS air bag warning light illuminates for about 7 seconds and then turns off. This indicates that the SRS is operational. See ${1}.



The supplemental front-impact air bags ordinarily will not inflate in the event of a side impact, rear impact, rollover, or lower severity frontal collision. Always wear the seat belts to help reduce the risk or severity of injury in accidents.
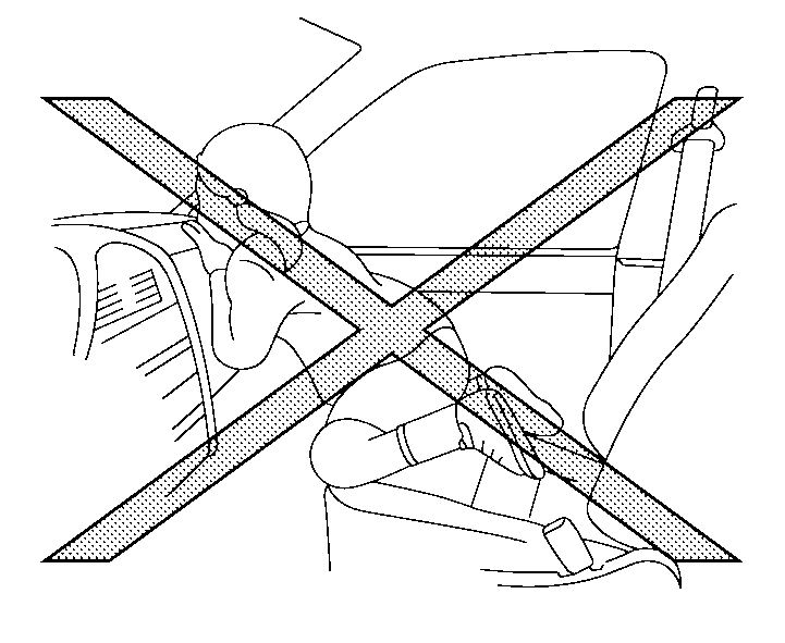
The seat belts and the supplemental front-impact air bags are most effective when you are sitting well back and upright in the seat. The front-impact air bags inflate with great force. If you are unrestrained, leaning forward, sitting sideways, or out of position in any way, you are at greater risk of injury or death in an accident. You may also receive serious or fatal injuries from the supplemental front-impact air bag if you are up against it when it inflates. Always sit back against the seatback and as far away as practical from the steering wheel. Always use the seat belts.







Never let children ride unrestrained or extend their hands or face out of the window. Do not attempt to hold them in your lap or arms. Some examples of dangerous riding positions are shown in the illustrations.
Children may be severely injured or killed when the air bags inflate if they are not properly restrained.
Never install a rear-facing child restraint system in the front seat. An inflating supplemental front-impact air bag could seriously injure or kill your child. See
.





The front seat-mounted side-impact supplemental air bags and roof-mounted curtain side-impact supplemental air bags ordinarily will not inflate in the event of a front impact, rear impact, rollover, or lower severity side collision. Always wear the seat belts to help reduce the risk or severity of injury in accidents.
The seat belts and the front seat-mounted side-impact supplemental air bags and roof-mounted curtain side-impact supplemental air bags are most effective when you are sitting well back and upright in the seat. The front seat-mounted side-impact supplemental air bags and roof-mounted curtain side-impact supplemental air bags inflate with great force. If you and your passengers are unrestrained, leaning forward, sitting sideways, or out of position in any way, you and your passengers are at greater risk of injury or death in an accident.
Do not allow anyone to place their hands, legs, or face near the front seat-mounted side-impact supplemental air bags and roof-mounted curtain side-impact supplemental air bags on the sides of the seatback of the front seats or near the side roof rails. Do not allow anyone sitting in the front seats or rear outboard seats to extend their hands out of the windows or lean against the doors. Some examples of dangerous riding positions are shown in the illustrations.
When sitting in the rear seats, do not hold onto the seatback of the front seats. If the front seat-mounted side impact supplemental air bags and roof-mounted curtain side-impact supplemental air bags inflate, you may be seriously injured. Be especially careful with children, who should always be properly restrained.
Do not use seat covers on the front seatbacks. They may interfere with the front seat-mounted side-impact supplemental air bag inflations.