Nissan Qashqai ePower 2025 Owners Manual
5.3.3. Vehicle information display

When the power switch is switched ON, the vehicle information display may display the following screens if the vehicle is equipped with them:
1. [Home]
2. [Blank]
3. [Speed] (where fitted)
4. [Drive Computer] — [Average Speed] (Distance & Time)
5. [ECO Pedal Guide]
6. [Fuel Economy History]
7. [Tyre Pressures]
8 .[Energy Flow]
9. [Navigation] (where fitted)
10. [Navigation] (where fitted)
11. [Compass] (where fitted)
12. [Audio]
13. Telephone screen (displays when there is an incoming call)
14. [Driving Aids] (where fitted)
15. ProPILOT Assist (where fitted)
16. [Traffic sign] (where fitted)
Warnings. Warnings will only display if there are any present. For more information on warnings and indicators, see
.17. [Settings]
To control what items display in the vehicle information display, see
.
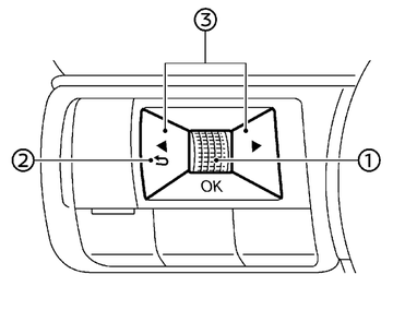
Switches for the vehicle information display are located on the left side of the steering wheel.
- (1)Scroll dial - navigate through the items and change or select an item in vehicle information display. This scroll dial allows up/down navigation and push to select
- (2)
- go back to the previous menu - (3)

- change from one display screen to the next (i.e. trip, Fuel economy)
The displayed images may differ depending on the model.