Nissan Qashqai ePower 2025 Owners Manual
7.4.2. MOD system operation (models with 3D view)
The MOD system will turn on automatically under the following conditions:
When the shift system is in the R (Reverse) position.
When the <CAMERA> button is pushed to activate the Intelligent Around View Monitor system on the display.
When vehicle speed decreases below approximately 8 km/h (5 MPH).
The MOD system operates in the following conditions when the camera view is displayed:
When the shift system is in the P (Park) or N (Neutral) position and the vehicle is stopped, the MOD system detects the moving objects in the bird’s-eye view. The MOD system will not operate if either door is opened. If outside mirrors are folded, MOD may not operate properly.
When the shift system is in a forward drive position , and the vehicle speed is below approximately 8 km/h (5 MPH), the MOD system detects moving objects in the front view, front-wide view, or invisible hood view.
When the shift system is in the R (Reverse) position and the vehicle speed is below approximately 8 km/h (5 MPH), the MOD system detects moving objects in the rear view or rear-wide view. The MOD system will not operate if the tailgate is open.
The MOD system does not detect moving objects in the front-side view and 3D view. The MOD icon is not displayed on the screen when in this view.
When the MOD system detects a moving object near the vehicle, the orange frame will be displayed on the view where the object is detected and a chime will sound once. While the MOD system continues to detect moving objects, the orange frame continues to be displayed.

While the RCTA chime (where fitted) is beeping, the MOD system does not chime.







In the bird’s-eye view, the orange frame (1) is displayed on each camera image (front, rear, right, left) depending on where moving objects are detected.
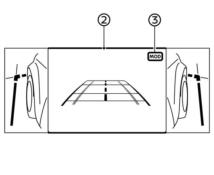
The orange frame (2) is displayed on the front view, rear view, front-wide view, invisible hood view and rear-wide view.
A green MOD icon (3) is displayed in the view where the MOD system is operative. A grey MOD icon (3) is displayed in the view where the MOD system is not operative.
If the MOD system is turned off, the MOD icon (3) is not displayed.